Gedore Blue 1.07/2 univerzální stahovák trojramenný
Univerzální stahovák 160x150 mm, rovnoměrné rozložení zátěže na 3 ramena zaručuje bezpečné uchopení a vyvážené stahování. Ramena lze otočit a používat buď pro vnější, nebo vnitřní stahování. Náhradní nebo výměnná ramena zvyšují flexibilitu nástroje. Stahovák lze dodatečně vybavit hydraulickým vřetenem (viz tabulka).
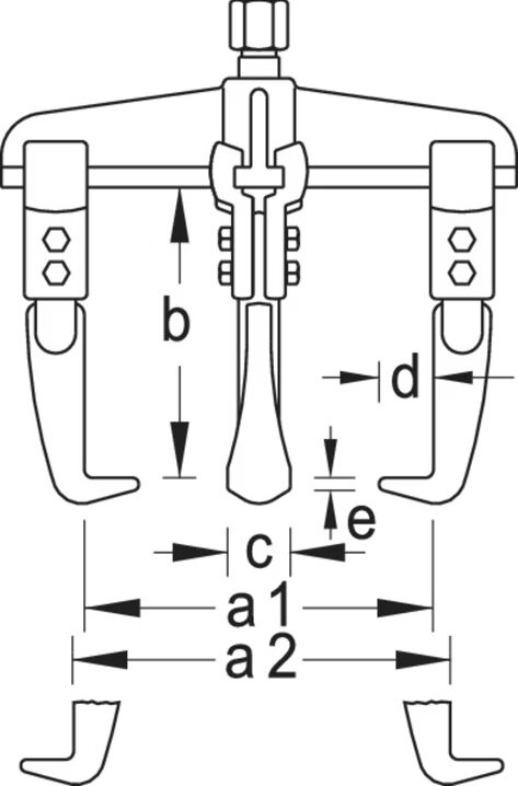
Technické parametry:
Použitelná hloubka upnutí b (mm): 150
Vnější rozpětí tahu (max.) (mm): 160
Čistá hmotnost (kg): 3,6
Velikost závitu vřetena: g1/2 x 210
Vnitřní tažné rozpětí a2 (min.) (mm): 100
Vnitřní rozpětí a2 (max.) (mm): 220
Šířka patky háku na užitné ploše c1 (mm): 30
Použitelná hloubka patky háku d2 (mm): 18
Tlouštka patky háku na špičce e1 (mm): 3,5
Šestihranný klíč na ovládání velikosti klíče (mm): 22
Tažná síla (max.) (t): 5
Hydraulické vřeteno volitelné: 1.06/hsp3
Počet ramen: 3
Lze dovybavit hydraulickým vřetenem: 1
© 2005-2026 Ivo Grandič - půjčovna a prodej profesionálního elektrického a ručního nářadí, obchod pro kutily i profesionály - Břeclav, jižní Morava.