Login

Heslo

Zapomenuté heslo


Gedore Blue 1.07/4A1-B-HSP3 univerzální stahovák trojramenný 2546582


Gedore Blue 1.07/4A1-B-HSP3 univerzální stahovák trojramenný 2546582

Gedore Blue 1.07/4A1-B-HSP3 univerzální stahovák trojramenný 2546582

Výrobce
Dostupnost
1 týden
Cena vč. DPH
36 790 Kč
Množství

Popis zboží

Gedore Blue 1.07/4A1-B-HSP3 univerzální stahovák trojramenný
Trojramenný hydraulický stahovák, tuhá ramena s aretací 580x140 mm, podobně jako standardní model 1.06 je i tento stahovák určen pro všechna průmyslová odvětví, zejména však pro montáž elektromotorů. Je také vhodný pro stahování těžkých, vícedrážkových řemenic pro klínové řemeny, setrvačníků, ozubených kol apod. Příčníky se na náboji stahováku zajišťují kolíky tak, aby svíraly vzájemně úhly 120 stupňů. Tuhá ramena kovaná z jednoho kusů materiálu, aretace ramen brání náhodnému posunutí ramen. Ramena lze po příčníku posouvat až po stisknutí tlačítka, lze jej otočit a používat buď pro vnější, nebo vnitřní stahování. Stahovák lze dodatečně vybavit hydraulickým vřetenem (viz tabulka). Stahovák můžete používat také s hydraulickými pomůckami č. 1.50, aniž byste potřebovali redukční objímky. Na vyžádání jsou ke stahováku také k dispozici další ramena a lze jej rozšířit až na šestiramenný. Tlakový prvek může být nahrazen hrotem a prodloužen podle potřeby, malé tlakové vřeteno je zajištěno šroubovací aretací, aby se zabránilo náhodnému stažení. Je k dispozici i se standardním vřetenem, model 1.07/4-B.

Technické parametry:
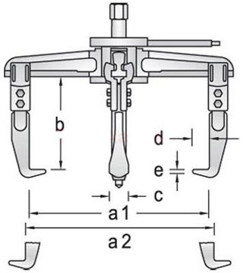
Použitelná hloubka upnutí b (mm): 140 
Vnější rozpětí tahu (max.) (mm): 580
Čistá hmotnost (kg): 23,1
Vnitřní tažné rozpětí a2 (min.) (mm): 270 
Vnitřní rozpětí a2 (max.) (mm): 640 
Šířka patky háku na užitné ploše c1 (mm): 36 
Použitelná hloubka patky háku d2 (mm): 28 
Tlouštka patky háku na špičce e1 (mm): 6,5 
Hydraulické vřeteno: 1.06/hsp3 
Tažná síla (max.) (t): 10
Reverzibilní ramena k dispozici: 1
K dispozici háková brzda: 1
Tahová síla (max.) (N): 25
Vnější rozpětí tahu (min.) (mm): 150 
Celková délka (mm): 137 
Protiskluzová ochrana vřetena: 1

Poslat dotaz / připomínku
Vaše jméno
E-mail
Telefon
Dotaz / připomínka
Kontrolní kódZadejte, prosím, číslice z obrázku.

Splátkový prodej - Gedore Blue 1.07/4A1-B-HSP3 univerzální stahovák trojramenný 2546582

Kalkulačka splátek ESSOX

Nedávno prohlížené zboží


SOUHLASÍM
Tento web používá k poskytování služeb a analýze návštěvnosti soubory cookie. Používáním tohoto webu s tím souhlasíte.