Login

Heslo

Zapomenuté heslo


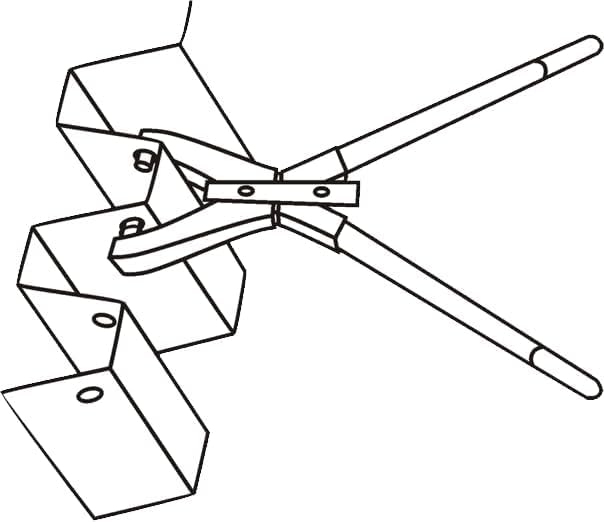
ALARM 14700 děrovací kleště na lichoběžníkový plech 700 mm


ALARM 14700 děrovací kleště na lichoběžníkový plech 700 mm

ALARM 14700 děrovací kleště na lichoběžníkový plech 700 mm

ALARM 14700 děrovací kleště na lichoběžníkový plech 700 mm

Výrobce
Dostupnost
1 týden
Cena vč. DPH
7 999 Kč
Množství

Popis zboží

ALARM 14700 děrovací kleště na lichoběžníkový plech 700 mm

Děrovací kleště pro trapezove plechy
Provedení: S vyměnitelnými, zušlechtěnými děrovacími trny s nalisovanou vyhazovací pružinou. Hloubkový doraz je přestavitelný v rozsahu 35 až 105 mm.
Použití: Na rychlé a jednoduché děrování lichoběžníkových plechů do tloušťky plechu 1,2 mm.

Poslat dotaz / připomínku
Vaše jméno
E-mail
Telefon
Dotaz / připomínka
Kontrolní kódZadejte, prosím, číslice z obrázku.

Splátkový prodej - ALARM 14700 děrovací kleště na lichoběžníkový plech 700 mm

Kalkulačka splátek ESSOX

Nedávno prohlížené zboží


SOUHLASÍM
Tento web používá k poskytování služeb a analýze návštěvnosti soubory cookie. Používáním tohoto webu s tím souhlasíte.