Podobně jako standardní model 1.06 je i tento stahovák určen pro všechna průmyslová odvětví, zejména však pro montáž elektromotorů
Je také vhodný pro stahování těžkých, vícedrážkových řemenic pro klínové řemeny, setrvačníků, ozubených kol apod.
Příčníky se na náboji stahováku zajišťují kolíky tak, aby svíraly vzájemně úhly 120 stupňů
Stahovák lze dodatečně vybavit hydraulickým vřetenem (viz tabulka)
Stahovák můžete používat také s hydraulickými pomůckami č. 1.50, aniž byste potřebovali redukční objímky
Na vyžádání jsou ke stahováku také k dispozici další ramena a lze jej rozšířit až na šestiramenný
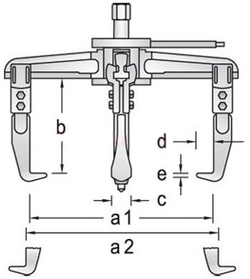
Rozpětí max vnější stahování (a, a1): 580 mm
Rozpětí min vnější stahování (a1): 150 mm
Rozpětí max vnitřní stahování (a2): 640 mm
Rozpětí min vnitřní stahování (a2): 270 mm
Hloubka 200 mm
Tažná síla max 10 t
Rozměr vřetena (závit x délka): G 1 x 360
Velikost šestihranu: 36 mm
Hydraulické vřeteno volitelné: 1.06 / HSP3
Šířka patky (c): 36 mm
Hloubka patky (d): 28 mm
Tloušťka patky na špičce: 6,5 mm
Hmotnost 22,0 kg
Cílová skupina: Průmysl, automobilový průmysl

1958003 univerzální stahovák 3-ramenný 580x200 mm Gedore

Metabo LF 724 S Facelift fréza na laky s kufrem 600724000

33126 Power-Luber 20 V Li-Ion aku mazací lis SKF

29234 momentový šroubovák 5 - 14 Nm TorqueVario-STplus Wiha

Metabo RBE 9-60 Set pásová bruska na trubky 900 W, 602183510

KS Tools 516.5054 ALUTORQUEprecision momentový klíč 1“ 750–2000 Nm

CR4DGAL hřebíky na asfaltové šindele 3,10 x 38 mm pozink, 7200 ks Stanley Bostitch

ZUOERGO+ podlahový sáčkový vysavač Electrolux
 © 2005-2025 Ivo Grandič - půjčovna a prodej profesionálního elektrického a ručního nářadí, obchod pro kutily i profesionály - Břeclav, jižní Morava.
© 2005-2025 Ivo Grandič - půjčovna a prodej profesionálního elektrického a ručního nářadí, obchod pro kutily i profesionály - Břeclav, jižní Morava.